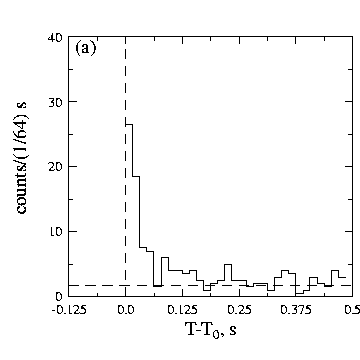
SGR 1900+14 Burst 790327 T0=37834.886 s UT


time history data(0.9Kb) spectral data(0.4Kb)
time history spectrum